產品概述
單口排氣閥用于管路上的較高點或有閉氣的地方,排除管內的氣體來疏通管道,達到正常工作,如不裝排氣閥,管內流動的液體會產生動熱引起氣體.形成短路,使管道出水容易達不到要求。其次,管道運轉轉時出現停電、停泵管道就會出現負壓力,而會引起管道振動或破裂,(排)吸氣閥就迅速把空氣吸入管肉,防止管道振動或破裂。單口排氣閥有二種連接方式,絲扣、法蘭。
工作原理
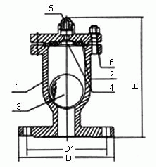
單口排氣閥主要由閥體、閥門、上蓋、閥桿、浮球、排氣嘴等組成。當需要排出管道內的氣體時,管道內的空氣在水的壓強作用下進入體腔內,并從排氣嘴排出,隨之管道內的水充滿體腔內,使浮球在水的浮力作用下,向上移動將排氣嘴堵塞,達到自行密封,管道在正常行中,水中的空氣在壓強的作用下,不斷排入排氣閥的體腔上部,迫使浮球下降,離開原來密封位置,這時空氣又從排氣嘴排出,隨之,浮球又恢復到原來位置自密封,因此,排氣閥在正常工作中閥門始終是開著的,浮球不斷重復上述動作,空氣不斷排出。當需要檢修或清掃體腔時,應將閥門關閉。單口排氣閥,順時針旋轉閥桿時為關閉。

連接尺寸
|
螺紋 |
規格 |
ZG |
Φ |
H |
法蘭 |
規格 |
D |
D1 |
Φ |
H |
|
20 |
3/4" |
135 |
205 |
20 |
105 |
75 |
135 |
210 |
||
|
25 |
1" |
135 |
205 |
25 |
115 |
85 |
135 |
210 |
||
|
40 |
1 1/2" |
150 |
205 |
40 |
145 |
115 |
150 |
210 |
||
|
50 |
2" |
150 |
205 |
50 |
160 |
125 |
150 |
210 |