您當前位置:產品中心 >> 水力控制閥 >> 電動比例積分調節閥
電動比例積分調節閥
技術參數

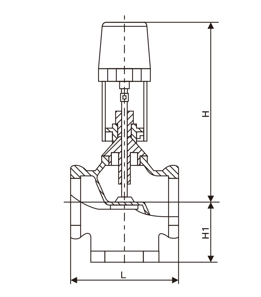
產品型號:VB3200

公稱通徑:DN25~50mm

公稱壓力:PN1.6 MPa

連接方式:內螺紋

介質溫度:2~120℃

適用介質:水、蒸汽

主要材質:銅、鑄鐵、鑄鋼、不銹鋼